近年来随着工业的迅速发展以及人类活动的频繁增加,大量含有重金属的废水、废渣在未经过严格高标准的处理后被排放到土壤中。由于重金属的高累积性、隐蔽性以及生物难降解性等特点,不仅导致大量的土地无法耕种被搁置,而且还会通过食物链作用,危害到人体的健康。对重金属污染土壤尤其是工业废弃地重度污染土壤进行修复和治理成为亟待解决的环境问题。
目前国内外研究涉及到的以及实际处理过程中应用到的重金属污染土壤的治理主要有固化和去除 2 种途径。近年来,围绕这两种途径开发了不同的治理措施和方法,如固化、还原、农业调控、生物修复和植物修复等,但这些方法具有处理不彻底、耗时长、易产生高毒中间代谢产物和应用范围有限等缺点,因而尚未在工程上进行应用。目前工程上主要方法有以下几种 :改土法、电动修复法、热处理法、玻璃花技术和土壤淋洗法。与土壤淋洗法相比,改土法、电动修复法、热处理法和玻璃化技术或存在二次污染、或适用范围小、或价格昂贵,皆有较为明显等不足。
土壤淋洗法是运用物理或化学手段将污染土壤中的有机和无机污染物进行分离、隔离、浓缩或进行无害化处理的过程。其中淋洗剂的选择是修复技术的关键。已经报道的重金属淋洗剂主要是表面活性剂和酸类淋洗剂。表面活性剂分人工合成的络合剂 (EDTA 等 )、生物表面活性剂(包括鼠李糖脂、槐糖脂、沙梵婷和皂角苷等)。EDTA因其能与大部分金属离子结合成稳定的螯合物,对土壤中的 Cu,Zn,Pb,Hg,Cd 和 Cr 等都有较高的去除效率,从而被广泛运用到重金属污染土壤的修复中,但 EDTA 存在价格昂贵、生物降解性较差、回收困难等问题。近年来,人们开始将生物表面活性剂代替 EDTA 用于土壤淋洗,但生物表面活性剂产量较低,生产成本较高。因此,目前生物表面活性剂工业规模的应用并不具有优势。酸类淋洗剂主要包括天然有机酸溶液 ( 柠檬酸、苹果酸、草酸、丙二酸、胡敏酸及富里酸等 )、无机酸溶液 (HC1 和 HNO3 等 )。有机酸对环境也没有太大的危害,而且能够大面积的推广使用。但是只能针对轻度或者中度污染的重金属污染土壤。对于重度污染的土壤,会带来淋洗剂耗量大、处理费用高昂等问题。
无机酸淋洗后虽能导致土壤的理化性质发生改变,但是它对于工业废弃地重度污染的土壤具有很好的效果,能够最大化的去除土壤中的重金属,并且价格低廉,淋洗过后的土壤用作固废填埋。但传统无机酸淋洗工艺存在淋洗废液的引起二次污染、回收率不高、耗水量大、重金属回收配套设备欠缺及安全化处理流程复杂等问题。
电沉积萃取废液中重金属离子的方法是在溶液中插入阴阳电极,施加微弱直流电形成的电场,在电场的作用下溶液中重金属阳离子迁移并沉积到阴极,然后进行集中分离或回收。但电沉积沉积处理土壤淋洗废液方面未见研究报道。
本实用新型要解决的问题是提供一种能够对淋洗废液进行电沉积循环利用的修复重金属污染土壤的设备。
一、为解决上述技术问题,本实用新型采用的技术方案是 :
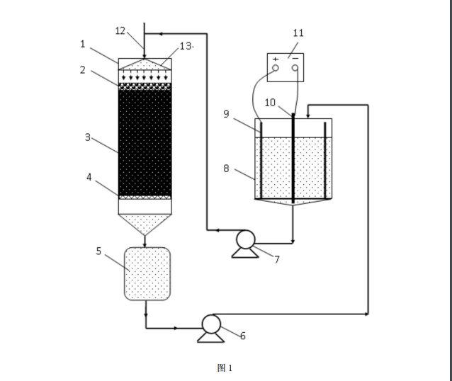
提供一种淋洗联合电沉积修复重金属污染土壤的设备,包括淋洗柱,所述淋洗柱内装有待修复重金属污染土壤,淋洗柱内待修复重金属污染土壤的上端设有淋洗喷头,淋洗喷头连接一用来补充淋洗液的喷淋管,所述淋洗柱内待修复重金属污染土壤的下端设有筛网 ;
缓冲槽,所述缓冲槽上端通过管道连接在淋洗柱的下端部位 ;
电沉积罐,所述电沉积罐内充有电沉积液,并设有阴、阳电极,所述阴、阳电极间连接一直流电源 ;
第一循环泵,所述第一循环泵一端的管道连接缓冲槽的下端,另一端的管道从电沉积罐上端通入电沉积罐中 ;
第二循环泵,所述第二循环泵一端的管道连接电沉积罐的下端,另一端的管道与喷淋管贯通连接。
进一步,所述淋洗柱为敞开有机玻璃柱,且竖直放置。
进一步,所述淋洗柱内待修复重金属污染土壤的上端铺设一层石子。
进一步,所述电沉积罐内中间部位设有 1 根阴电极,电沉积罐内四周均匀布置 4 ~8 根阳电极。
一种利用上述设备进行淋洗联合电沉积修复重金属污染土壤的方法,包括如下步骤 :
步骤一、将重金属污染土壤放入淋洗柱内,无机淋洗液从上至下对土壤进行淋洗,淋洗后的废液收集到淋洗柱底部的缓冲槽内 ;
步骤二、利用第一循环泵将废液从缓冲槽通入电沉积罐内,电沉积罐的阴、阳电极间通有直流电产生电场,通过电场作用将废液中重金属离子沉积到阴电极上 ;
步骤三、将分离重金属后的剩余废液通过第二循环泵输送到淋洗柱上端的喷淋管内,作为淋洗液重复利用。
进一步,所述步骤一中的无机淋洗济由氯化钠和无机酸混合配制而成。
进一步,所述无机酸是盐酸、硫酸或硝酸,其 pH 值在 3 ~ 4 之间。
进一步,所述氯化钠用量为 100 ~ 200g/L。
二、本实用新型具有的优点和积极效果是 :
首先,使用无机淋洗液淋洗高浓度的重金属污染土壤,高效而快速地去除土壤中重金属 ;同时,利用电沉积法处理淋洗废液,不仅有效避免了产生二次污染的废液,及时回收废液中的重金属,而且可循环利用剩余废液,能够节省大量的无机酸和水资源,将电沉积法与酸洗法有机结合,具有操作简单、修复周期短和成本低等优点 ;此外,本实用新型能促进重金属污染土壤修复的产业化进程。
三、附图说明
图 1 是本实用新型淋洗联合电沉积修复重金属污染土壤的设备具体实施例的原理示意图。
图中 :
1. 淋洗柱,2. 石子,3. 污染土壤,4. 筛网,5. 缓冲槽,6. 第一循环泵,7. 第二循环泵,8. 电沉积罐,9. 阳电极,10. 阴电极,11. 直流电源,12. 喷淋管,13. 淋洗喷头。