公司动态

了解最新公司动态及行业资讯

土壤异位淋洗修复成套设备之湿式筛分装置

2017-10-13 01:58:21 178 编辑:admin 来源:本站
  土壤是构成自然生态系统的基本环境要素,也是人类赖以生存和发展的物质基础。随着人类活动对自然环境影响的加剧,人们生产生活过程中所产生的污染物有可能通过各种途径进入土壤,并超过土壤的容纳和净化能力,从而导致土壤自然功能失调以及土壤质量恶化,进而可能会对附近人体和周边环境产生严重不良影响。因此,有必要采取合理的技术手段进行污染土壤修复,从而有效控制土壤污染引起的人体健康和生态环境风险。
  土壤异位淋洗即将受污染的土壤从受污染区域转移到地面反应器内,利用水或其它淋洗剂,通过螯合、增溶、沉淀等作用,分离土壤污染组分或将土壤中的污染物转移至液相,再对含污染物的淋洗液进行处理的技术。土壤异位淋洗属于物理/化学修复技术,可用于处理的污染物质包括重金属及半挥发性有机污染物、难挥发性有机污染物等,具有有效降低土壤污染物浓度、操作灵活,过程可控,修复速度快等优点。
  本实用新型的主要目的在于针对土壤淋洗在小粒径级别土壤污染修复上的不足,提供了一种土壤异位淋洗修复成套设备之湿式筛分装置。
  1、本实用新型的目的是这样实现的:
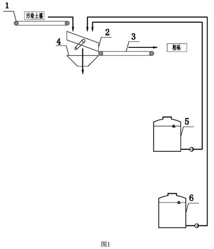
  土壤异位淋洗修复成套设备之湿式筛分装置,其特征在于:包括依次设置的进料带式输送机、湿式振动筛、集料斗及粗砾带式输送机,所述的湿式振动筛筛网中后段设置有若干组高压水喷头,其中前侧的喷头使用循环回收利用的处理水作为喷射水源;位于后侧的喷头使用清洁的自来水作为喷射水源,借助水力冲刷湿式振动筛筛网对土壤进行破碎筛分并对筛网上粗砾进行洗涤。
  在上述的土壤异位淋洗修复成套设备之湿式筛分装置中,所述的集料斗设在湿式振动筛的下方。
  在上述的土壤异位淋洗修复成套设备之湿式筛分装置中,所述的若干组高压水喷头的数目为4组,前侧的喷头数目为3组,后侧的喷头数目为1组。
  2、本实用新型的工作流程如下:
  湿式筛分:湿式振动筛筛网中后段设置有4组高压水喷头,前面3组喷头使用淋洗废水处理后的回用水作为喷射水,而最后1组喷头使用清洁的自来水,借助水力冲刷作用破碎筛上大颗粒杂质以提高对土壤的破碎筛分效果并实现对筛上粗砾的清水洗涤。此阶段可实现土壤组分与回用水(含淋洗剂)的初步接触混合,同时将几乎不含污染物质的粗砾洗涤后直接排出,减少待处理污染土壤量。
  3、 本实用新型相比现有技术突出且有益的技术效果是:
  本实用新型不仅可适用于重金属和/或有机污染土壤的修复以及不同粒径级别土壤的异位淋洗修复,并且具有适用范围广、减量效果好、修复效果稳定、操作运行简便、耗水量小、废水回用率高等优点。
  4、附图说明
土壤异位淋洗修复成套设备之湿式筛分装置
  图1是本实用新型的结构示意图。

30

装备制造经验

立即免费获取土壤修复方案

为用户提供及时、高效、便捷的服务

在线咨询
尊龙凯时环境希望与你携手,共创美好未来...
5