土壤异位修复系统是专门针对污染土壤进行修复的有机系统,常用设备包括:土 壤开挖设备、土壤分选设备、土壤输送设备、药剂混合添加设备、混料设备等。现有的土壤异 位修复系统,存在的缺点包括:

1、土壤开挖设备:目前异位修复土壤的装置大多都是采用原始装置,例如挖机,而 挖机挖土的深度控制并不精确,依靠经验挖土,且只能完成挖土的动作,因此效率极低;
2、土壤分选设备:在筛分过程中,干燥的土壤在筛框内由于振动粉碎,容易扬起灰 尘,在筛分后容易飘散至空气,污染空气;机器筛分时,与地面产生相对振动,易形成噪音, 影响工作环境;
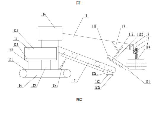
土壤异位修复系统,包括土壤开挖装 置、土壤分选装置、土壤输送装置、药剂投放装置 及混料装置;上述五个部分配合工作,达到土壤 的修复目的,各个部分的结构设计合理,整体大 幅提高修复效率及效果。
郑州市长椿路11号国家大学科技园孵化1号楼513
电话:0371-61772378
邮箱:desenhuanjing@163.com
微信公众号
尊龙凯时环境抖音号 30年
装备制造经验
为用户提供及时、高效、便捷的服务