行业动态

了解最新公司动态及行业资讯

土壤热解析的工序

2017-12-25 07:22:08 131 编辑:admin 来源:本站
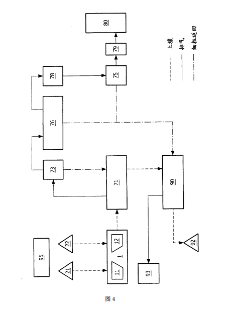
         经由带式传送器将经处理的进料物质从解吸器中去除。优选在进一步处理之 前 ( 例如在土壤整修之前 ) 不断积存去除的物质。可以将其从解吸器中去除 并导入土壤调整器 。在该土壤调整器的出口,进料物质被卸载在堆料传送器 上。在该 堆料传送器的传送带的端部,进料物质被卸载在料堆上。可以将堆积的土壤运输到储存 场所,用以将来的利用,例如在筑路、垃圾掩埋中的利用。 
 
        本发明的工序可以自动操作和受到例如来自中心控制室的控制。这里,可以对所 有有关的工序参数进行连续监测、记录以及需要时的调节。本发明的工序可以在低于大气 压力的 压力下进行以防止有害气体从该设备泄出。
   
       本发明的工序使得能够连续地执行热处理工序,例如热解吸单元的使用。包括了 按照本发明工序运行的设备的场所能够以 24/7、全天 - 每周 7 天的方式操作。设备将会需 要为进行维护而有规律地停机,例如每三周一天。设备可以由有限的人员操作,例如每次轮 班由两位操作者和一位轮式装载机驱动者操作。 
   
         在本发明的一个优选实施方式中,热解吸设备的各部分作为容器模块。本发明 的热解吸设备占用至多 2000m 的区域,或者是在任意两个 前述值之间范围内的值,优选约为 1250m  ,该区域包括贮存坑。该设备需要的面积通常是 50m×25m。 
   
        在本发明一个优选实施方式中,上述工序用作处理被煤焦油、聚芳香烃、氰化物、 矿物油、氯化溶剂、杀虫剂、硫磺和 / 或水银污染的土壤的手段。如果需要,例如当进料物质 受到杀虫剂或二恶英污染时,可以将气体处理系统升级为带有在集尘室之前用以注射活性 碳的系统或者活性碳过滤器可安装于湿洗涤器之后。 
   
        依照本发明的工序可以用于符合环境标准。尤其是,该工序遵从最严格的欧洲规 定,所描述的由欧洲指令 European Directive2000/76/EC 所规定的关于废物焚化 的排放标准 ( 日平均 )。二恶英和呋喃的排放将少于 0.1ng TEQ/Nm 3 ( 在最小 6 小时和最大 8 小时的样本周期之上测量的平均值 )。TEQ 代表有毒等同物。

30

装备制造经验

立即免费获取土壤修复方案

为用户提供及时、高效、便捷的服务

在线咨询
尊龙凯时环境希望与你携手,共创美好未来...
5